Summary of Intelligent Guidance System for Fire Emergency Evacuation in Large Buildings
- DOI
- 10.2991/jracr.k.200117.003How to use a DOI?
- Keywords
- Fire; guidance system for fire emergency evacuation; fire detection; path planning; intelligent guidance
- Abstract
With the continuous development of the social economy and the deepening of urbanization, large buildings are increasing, and disaster risks associated with large buildings, such as fire risks, are also increasing. Because of large buildings, such as shopping malls, business offices, transportation hubs buildings, high-rise commercial buildings are often crowded, it is essential in reducing fire casualties to guide people effectively in the buildings through the escape corridors, and to evacuate in a timely, rapid and efficient manner in the event of a fire. Therefore, in order to fully protect the safety of life and property, it is necessary to establish a fire protection intelligent guidance system. The research of intelligent guidance system for fire emergency evacuation in large buildings at home and abroad was reviewed in this paper. Three key problems of the fire detection, the evacuation path planning and the evacuation guidance design are presented. The development trend of the intelligent guidance system for fire emergency evacuation is discussed from two aspects, namely, the evacuation path planning methods and the guidance system hardware research.
- Copyright
- © 2020 The Authors. Published by Atlantis Press SARL.
- Open Access
- This is an open access article distributed under the CC BY-NC 4.0 license (http://creativecommons.org/licenses/by-nc/4.0/).
1. 引言
随着我国社会经济的飞速发展,大型建筑越来越多的出现在人们的生活中,这些建筑给人们生活带来便利的同时也隐藏着安全隐患,尤其是火灾隐患。从2004-2013年全国商场市场发生重特大火灾起数、死亡人数、受伤人数和直接经济损失分别占人员密集场所共发生重特大火灾的44%、35%、21%和48%[1]。与此同时,火灾发生的空间不均衡性和消防资源的有限性[2]对消防设施提出了更高的要求。消防应急照明和疏散指示标志是火灾发生时为现场人员提供照明和指示的重要消防设施,因此,研究并建立大型建筑物内消防应急疏散智能指引系统对于保障火灾发生时人民群众的生命财产安全具有重要意义。
近年来,为了缩短疏散时间、提高人员的逃生率,国内外学者开始探索一种“使疏散指示实现与火灾状况和疏散设施动作状况有关的性能化、智能化的协同联动[3]”的指引系统。该系统集火情探测、疏散路径规划和疏散指导为一体,利用多种探测方式获得火情信息[4]后,系统将信息传输到主控制模块[5],一方面为人员提供报警信息,另一方面根据火情变化实时规划最优疏散路径[6],最后系统将最优路径传输到智能指引子系统并利用其实现疏散引导的功能[7]。传统的研究大多针对单一子系统且集中于工业领域,随着测量学、运筹学以及计算机科学的迅速发展,国内外学者尝试综合运用多种技术手段构建智能化消防应急疏散指引系统。但是,目前对大型建筑物内消防应急疏散智能指引系统的综述还比较少见。
因此,笔者拟基于消防应急疏散指引系统的基本概念,综述传统消防应急疏散指引系统和智能消防应急疏散指引系统,并基于其现状提出未来研究趋势,以期为大型建筑内消防应急疏散智能指引系统的研究工作提供一定参考。
2. 消防应急疏散智能指引系统基本组成部分
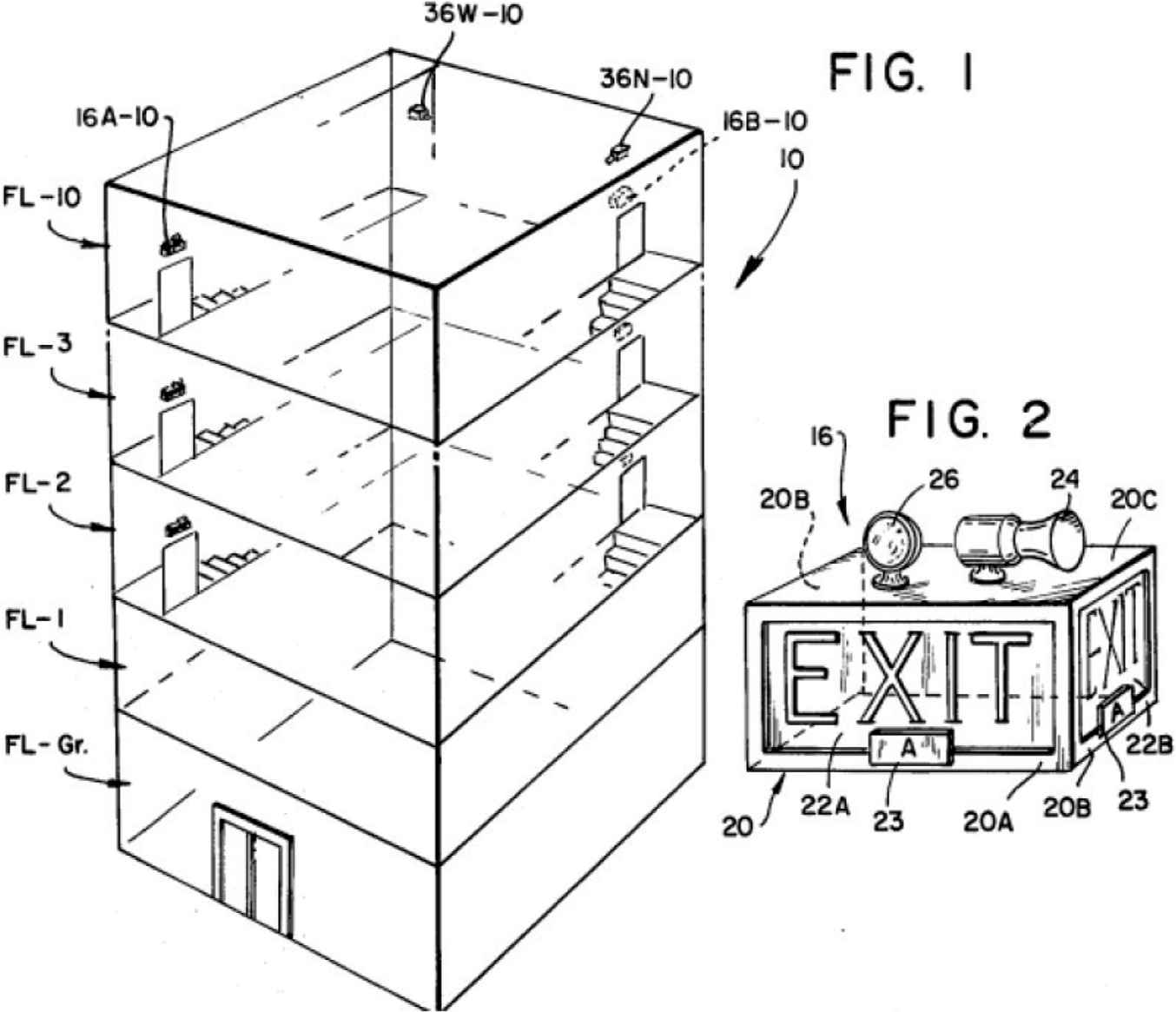
传统的消防应急疏散系统(这里我们以紧急疏散照明指示系统为例)包括显示固定方向和安全出口标志装置的识别装置,根据“建筑物防火设计规范”[8]和“消防应急照明和疏散指示系统”[9]安装设备,如图1所示。但是,独立性消防应急照明和疏散指示系统无法根据火灾现场的具体情况动态、灵活地调整消防疏散路线与疏散指示方向,也无法及时、准确反馈火灾现场各区域及安全出口的火灾信息与人口疏散情况[10]。

传统疏散指示系统.
目前的火灾应急疏散系统可以分成三类:
- 1)
自动检测系统
自动检测系统包括一个传感器网络和相关的控制和指示设备。传感器可检测热、烟或辐射,通常用于控制和指示设备操作报警系统。它还可以执行其他信号或控制功能,如自动烟雾控制系统的操作。
- 2)
报警系统
报警系统在灾难发生的早期就发出警报,给人们最大的逃生时间。一般而言,建筑物内须安装下列装置:手动操作的音响;简单的手动呼叫点,并配有电铃、电池和充电器;内部快速通信系统(电话、对讲机等),以便每层楼与控制中心之间能进行对话。
- 3)
应急照明指示系统
应急照明指示系统通常包括应急照明灯和带有安全出口标志的应急疏散灯。其目的是提供紧急情况下的照明条件,方便逃生者前往安全出口或采取自救措施。
张连毅等[10]提出的智能消防应急疏散指引系统,是利用消防报警控制器与智能网络技术,将火灾探测器、消防联动系统、智能应急照明、智能疏散标志灯具等其他通信设备组成的一个集中控制的智能网络系统,硬件连接如图2所示。ZHANG等[5]提出了一种理想的消防应急疏散指引系统概念,即拥有功能完善的智能火灾信息监控系统,具有智能主控制判断系统,具有性能优越的智能应急照明和疏散指示系统以及具备整合和合理应用其他信息技术优势能力的智能建筑。

一种消防应急疏散智能指引系统硬件连接图.
费杰[11]提出的智能楼宇消防安全及应急系统技术主要包括火灾参数的检测技术和消防设备的协同控制与协调控制技术等,其结构图如图3所示。PODRZAJ等[12]提及的智能空间(intelligent space)中的智能指引系统主要包括四大模块:用于从环境中获取数据传感器模块、用于转换数据并根据它做出决策的处理器模块、用于通过网络实现不同分布式智能网络设备(distributed intelligent network device)之间通信的通信模块以及为居民提供信息的执行器。RAN等[13]提出的智能疏散引导系统(intelligent evacuation guidance system)由计算机、烟雾探测装置、人群疏散速度探测器、疏散路线识别和出口标志组成。JIANG等[14]设计的大型公共建筑智能消防系统的移动终端应急疏散导航系统(intelligent fire-fighting system of a big public building emergency evacuation navigation system for mobile terminal)主要组成为:获得当前位置信息的蓝牙模块、利用地理信息系统(geographic information system)网络路径等空间分析算法获得最佳导航路径的中央处理模块以及实时推送数据到移动终端的系统数据服务器。在智能消防应急疏散指引系统的功能和结构上,各国学者的研究方向是一致的,即:智能消防应急疏散指引系统是一种具有根据火情发展与人员信息实时探测、分析能力并通过疏散设施为人们提供动态指引服务的系统。其主要构成为:具有实时探测能力的探测系统、具有分析决策能力的中央处理系统以及提供高效的动态指引服务的疏散系统。

一种智能楼宇消防安全及应急系统结构图.
3. 国外研究概况
智能化的消防应急疏散是一项受到各国高度重视、近几年发展迅速的,并且涉及建筑火灾时能够保证现场人员及时进行疏散、完成火灾逃生的消防应急疏散技术。纵观当前国际上消防应急疏散智能指引疏散系统的现状,欧美等国及日本的消防应急疏散智能指引系统发展较早、较快,普遍认为1942年瑞士西伯乐斯公司率先使用火灾报警器是最早的智能楼宇消防安全及应急系统[15]。
Joseph等[16]在1978年提出了一种适用于多层建筑物的紧急事件报警和疏散系统,如图4所示。它包括多个火灾烟雾探测器和分别位于建筑物不同楼层紧急出口附近的多个出口信号单元。建筑物大厅地板上的控制面板包括发光指示器以及信号单元按钮,发光指示器指示特定的疏散路线,信号单元按钮可以选择性地驱动特定的信号单元,从而将建筑物的居住者引导至特定的出口门。 除此之外,作者还公开了一种闭路电视系统与其所述的出口信号铃单元结合使用,用于可视地监视特定区域中的火灾烟雾状况。

一种适用于多层建筑物的紧急事件报警和疏散系统.
文献[17]提到了日本在1983年5月批准采用闪烁式疏散指示灯系统,如图5所示。研究人员为了提高在烟雾状态下的能见度采用了疝气闪烁疏散指示灯,但它们在浓烟环境下的醒目性仍不理想。因为声音在浓烟中不衰减,科研人员便考虑把发声设备引入疏散指示设备。不足之处是,如声音太大,由于回音干扰逃生者不易分辨声音发自何方。不过,考虑到在浓烟情况下,往往在距安全出口仅几米的地方就有不少遇难者。要把逃到安全出口附近的人引导到安全出口并不需要过大的声音,只要调整合适的音量,就能明确指示安全出口所在。

光闪烁移动疏散指示系统总体架构.
随着技术进步,出现了亮度比以往高几倍的疏散指示灯。它的发光表面即使缩小到几分之一,醒目性也不会降低。1994 年4 月,日本消防厅批准用高亮度指示灯取代大型疏散指示灯。
接着,日本出现了利用先行音(哈斯效应)的疏散指示系统。本系统的原理是:在走廊天花板上,安装了一系列扬声器,由于相邻两个扬声器之间的电延迟时间,从安全出口的扬声器开始,依次发出的声音,逃生者就像听到发自安全出口的声音一样,从而向安全出口方向逃生。
Peter Topol等[18]在1985年提出了一种智能指示系统,该系统由耦合了烟雾传感器和热传感器的出口指示单元、语音传感器和频闪灯组成,如图6所示。其工作原理为:首先,一个闪光灯在出口处闪烁,有足够的亮度来引起人们对出口的注意,并穿透烟雾弥漫的走廊里的烟雾;其次,利用语音合成器根据紧急情况向楼层人员提供语音指令。需要指出的是,每个出口标志单元独立于中央监控单元运行,以触发本地警报。

一种智能指示系统结构图.
Gary L. Sweeney等[19]在1995年提出了一种激光发射疏散系统,该系统由激光源和旋转镜组成。当空气中的烟雾密度处于低水平时,每列激光几乎不可见,但是,随着烟雾密度的增加,激光束的感知强度和一致性将会提高。如图7所示,激光源指向旋转镜,利用位于旋转镜周围的光缆拦截光束,从而使激光依次顺着每根光缆向下射,从而达到疏散指示的效果。

一种激光发射疏散系统结构图.
Shi Pu等[20]在2005年提出了一种使用建筑物3D模型并考虑人为因素和环境因素的建筑物内部疏散路线计算的方法,如图8所示。其中,3D模型将由数据库管理系统管理,疏散算法基于基本的搜索算法,但也考虑了疏散的时间轴。 利用手机、疏散指示灯等方式发送计算出的路线,以便尽可能多地引导人员逃生。

疏散路线计算系统的总体架构.
Valérie Renaudin等[21]在2007年提出了一种基于微型机电传感器(Micro Electro Mechanical Sensors,MEMS)和无线射频辨识系统(radio frequency identification,RFID)的行人导航方案,该方案特别针对室内紧急情况,利用扩展卡尔曼滤波器(Extended Kalman Filter,EKF)估计行人的步长和运动方向。与航迹推算算法的定位精度和鲁棒性相比,实验结果显示了其良好的性能。除此之外,本文提出了一个可以自组网的解决方案,具有较好的应用前景。PODRZAJ等[12]在2008年提出了一个应用在智慧空间中的疏散系统设计。该系统利用探测设备与移动机器人来进行火灾探测和灭火,利用扬声器、投影仪和移动机器人来引导人们疏散。CHOI等[22]在2015年提出了一种利用泛在传感器网络(Ubiquitous Sensor Networks, USN)网状路由协议快速检测火灾起源、被疏散人员的位置并得到最优路径的疏散引导系统。
Barnes等[23]在2017年提出了一种分布式算法,用于在紧急情况下引导疏散人员通过任意复杂的建筑物到安全出口。该算法根据火灾当前的扩散路径,利用无线传感器网络为撤离人员找到最安全的路径。
ZHANG等[24]在2018年提出了一种基于网络物理系统(Cyber Physical System, CPS)技术,并且有效集成了事件监控、实时信息通信、主动危险识别和智能指导的实时应急疏散引导系统。
HAJJEM等[25]在2018年提出了一个基于最早到达流量模型(the Earliest Arrival Flows Model, EAFM)的实时疏散指导系统。该模型利用建筑物的传感器和撤离人员的智能手机获得数据,使用一种蚁群算法(Ant Colony Optimization, ACO)获得撤离最优路径后,通过安装在智能手机上的应用程序引导疏散人员撤离到安全区。
SHEEBA等[26]在2018年利用随机Patri网络,针对火灾突发事件中人员的恐慌行为和楼梯踩踏等现实情况,建立了火灾应急疏散系统的完整分析模型。
由此可见,国外针对应急疏散指引系统的研究开展较早,并且随着科学技术的发展呈现出一个清晰的动态发展过程,从上世纪四十年代楼宇火灾报警产品的出现,到七八十年代出现的新型疏散指示灯的设计,最后到近年来提出了应用多种技术手段实现集火灾探测、火灾报警、疏散引导和火场救援于一体的综合消防应急疏散智能指引系统。
4. 国内研究概况
我国的消防应急疏散系统的研发起步较晚,上世纪八九十年代刚刚出现消防应急疏散指引系统的概念,本世纪初出现了简单的应急疏散系统,随着人们安全意识的提升和科技的发展,近几年关于应急疏散系统的研究大量涌现。消防应急疏散系统实现了从无到有、再到几乎全面覆盖、以人工为主导最后到智能化的发展历程,从最初的多线制控制系统逐步向分布式控制系统的方向发展。我国在1983年研发出远程监控智能楼宇消防安全及应急系统,人工将报警按钮按下即可实现消防报警功能[15]。然而,当今国内大多使用的消防应急疏散系统为灯具亮灭固定、事先规定好逃生路径的系统。随着消防联动技术的迅速发展,我国的消防应急疏散系统也步入了一个新的阶段,消防应急疏散智能指引系统的成功研发有效地消除了上述困扰。
邴树奎等[27]在2004年设计了一种智能消防应急照明指示逃生系统。该系统由烟雾报警器、自动火灾报警主机、集中控制应急灯主机和疏散指示灯组成。该系统解决了独立型应急标志灯难以维护检修、无法和报警系统联动以及在火灾发生时无法实时调整疏散指示方向的问题。
LIU等[28]在2010年提出了一种可行的行人疏散引导服务方式,以一个真实的建筑物为基准图,采用细胞自动机模型(Cellular Automaton Model, CAM)模拟行人运动,针对不同的建筑材料,建立了不同的火灾模型,并开发了一个疏散仿真与引导系统。
姚德利等[29]在2012年以蚂蚁分散费洛蒙行为分析理论为基础,利用行动装置结合被动式无线射频辨识系统(Radio Frequency Identification,RFID)构建基于RFID的消防疏散系统。
ZHANG等[5]在2014年通过整合高科技技术,提出了新的智能疏散系统。该系统将从前端信息模块获取的内容作为数据源,将数据嵌入到智能疏散系统的主控模块中,然后通过后台操作和生成命令后,将命令输出到智能应急照明、疏散指示和逃生系统并直接引导人员疏散。
近年来,建筑信息模型(the Building Information Modeling)已被广泛应用于建筑灾害的预防和管理中[30–34]。我国的CHENG等[35]在2017年构建了基于建筑信息模型的智能防火救灾系统,该系统集成了个人定位信息、基于蓝牙技术的疏散(救援)路径优化信息、移动引导设备信息,构建了智能化、双向化的消防防灾系统框架,实现了实时、动态的三维消防信息显示。
与此同时,CHEN等[7]在2018年提出了一种集成了建筑信息模型、火灾动力学模拟器(Fire Dynamics Simulator)以及物联网(Internet of Things)技术的基于建筑信息模型的火灾救援可视化预警系统。FDS结合建筑信息模型的可视化和集成化特性,模拟结构火灾的各种情况,并将温度、一氧化碳和能见度的模拟结果集成到建筑信息模型中,以便在救援行动开始前进行简报。此外,本研究整合了物联网技术,实现实时态势监测。一旦发生火灾,建筑信息模型会立即显示火灾现场的情况,并根据实际情况控制LED逃生路线指针,并将信息提供给消防人员。
与此同时,JIANG等[14]在2018年利用室内定位技术、地理信息系统数据管理和分析能力等空间信息技术,在移动终端的基础上开发了一套个性化应急疏散系统。基于移动终端的室内定位,现实移动人员在建筑物空间中的位置,消防人员可以直观地掌握事故现场及其发展趋势。该结果可用于复杂建筑物中各种紧急情况的演练,获得最佳的疏散路径,提供准确、及时、可视化的疏散计划,有助于提高员工应对火灾等危险的能力。
目前我国的消防应急疏散智能指引系统已经被多家企业开发,并且被广泛的应用于当前的楼宇建筑中。沈阳宏宇光电子科技有限公司研制的消防智能急照明和疏散指示系统,以及上海宝星灯饰电器有限公司开发的智能控制消防应急疏散逃生系统都是性能优良并被广泛采用的智能疏散系统[36]。富泰华工业(深圳)有限公司发明的消防应急指示系统及方法已经获批国家发明专利[37]。
5. 关键问题及相关研究
近年来,国内外的学者们针对无线通信网络、探测系统和火灾预测系统设计等领域的技术发展进行了研究。本文从火情探测、疏散路径规划和疏散引导设计三个关键问题对国内外相关研究进行综述。
5.1 火情探测
火情探测系统是一种能够对环境因素及其对环境的影响进行评估,并在火灾发生的早期预测火灾发生的系统。火情探测在减少火灾损失中具有重要的作用,越来越受到人们的重视。
Tipsuwanpom等[38]考虑了利用人工神经网络通过使用摄像头检测房间内火灾并进行图像处理的可行性。 他们将模拟火中火焰图像的特征视为输入元素,从动态图像中获取火焰图像,并从校正后的图像中提取用于人工神经网络应用程序的图像特征,该图像考虑了感光摄像机到火源的距离差异。 实验结果表明,他们提出的方法可以从图像中检测出火灾的位置。
Lai等[39]提出了一种实用的方法,可以通过使用现有的视频监视系统自动检测火灾。通过将空间和时间光谱特征组合为特征向量,可以实时地在火灾早期准确地检测到事件发生。仿真结果表明,所提出的灾害报警系统不仅可以降低误报率,而且可以提供火情更精确的时间和位置的检测。该检测方法应用了无线传感器网络到火情探测中,但其缺点之一是它们无法正确处理不精确的传感器读数。
Kapitanova等[40]证明模糊逻辑是一种强大而准确的方法,可以成功地应用于无线传感器的事件检测中。与使用清晰的值相比,模糊逻辑允许检测算法在传感器值波动的情况下仍保持较高的准确度。这有助于减少误报的数量,同时提供快速准确的事件检测。他们的实验验证了该假设,即在决策过程中合并邻居节点的读数将进一步提高事件检测的准确性,并保留了事件检测的及时性。
Wang等[41]提出了一种基于隐马尔可夫模型(HMM)的混合方法,该方法基于时空特征和亮度的变化来检测火灾。 此处,使用时空特征的HMM模型表征了火的闪烁特征,并且在火焰边界上设置了一系列观察点,以判断火的闪烁特征。 实验结果表明,与以前的算法相比,该方法取得了良好的效果、鲁棒性强,可以在复杂的环境中使用。
Xu等[42]使用模糊系统理论和神经网络设计了高层建筑火灾报警系统。 模糊系统在推理方面具有优势,而神经网络在学习方面具有优势,通过将模糊系统与神经网络相结合,可以自动调整模糊系统的设计参数。 通过系统中的温度传感器和气溶胶传感器智能监控温度和气溶胶,解决了警报灵敏度和误报率之间的矛盾。实验证明,该系统具有较高的可靠性和智能性。
CHEN等[7]使用了高灵敏度NPN硅光电晶体管YG1006传感器和根据黑色环氧树脂质量来检测红外辐射的格罗夫火焰传感器(Grove Flame Sensors)来探测火灾发生情况。
CHEN等[43]提出了一种基于视频处理的火灾早期报警系统烟雾检测方法。他们使用基于色度的静态决策规则和基于扩散的动态特征决策规则进行烟雾像素判断,并根据烟的灰度特征推断出彩色决策规则、根据烟的分布特性推断出动态决策规则。
HO等[44]提出了一种利用光谱特征、空间特征、时间特征和模糊逻辑提取真实火灾烟气的实时报警系统。
YAO等[45]提出了一种基于多传感器信息融合的火灾监测系统,该系统利用自适应共振理论模型和三层反向传播神经网络,可用于温度、烟雾和CO传感器信息的两层融合处理。
KUO等[46]提出了一种可以为暗火和明火提供准确报警的基于模糊分类与灰色预测相结合的火灾实时探测系统。
5.2 疏散路径规划
疏散路径规划算法以建筑物的模型和火情变化、人员分布等动态因素为输入量,旨在给出正确、安全的疏散路线,并将其发送给遇险人员。截至目前,可以将其分为两类:基本的疏散路径规划算法和改进的疏散路径规划算法。
- 1.
基本的疏散路径规划算法
在建筑物的逻辑模型中,如果只考虑节点之间的移动距离,可以使用许多现有的搜索算法计算从一个节点到另一个节点的路径。
- 1)
广度优先搜索算法
在广度优先搜索中,首先扩展根节点,然后再扩展由根节点生成的所有节点,然后扩展其后继节点,依此类推,直到找到目标节点。
- 2)
深度优先搜索算法
深度优先搜索总是在最深处展开一个节点。只有当搜索进入死胡同时,搜索才会返回并在较浅的层次上展开节点。深度优先搜索的缺点是它会在错误的路径上陷入困境。
- 3)
深度限制搜索算法
深度限制搜索通过在路径的最大深度上设置边界来避免深度优先搜索的陷阱。
- 4)
迭代加深搜索算法
迭代加深搜索是一种通过尝试所有可能的深度限制来避开选择最佳深度限制的策略。
- 5)
双向搜索
双向搜索算法既从初始状态向前搜索,又从目标向后搜索,并且在两次搜索在中间相遇时停止搜索。
- 6)
Dijkstra算法
Dijkstra的算法与前五种算法的不同之处在于,它可以估计节点的“优良性”,因此是一种可靠的搜索算法。
- 1)
- 2.
改进的疏散路径优化算法
基本的搜索算法只能计算路线,不能计算疏散路径,因为建筑物发生灾害时,线路网络可能随时改变。因此,我们需要考虑动态因素并对基本算法进行改进。如果不仅考虑链路的成本,还要考虑动态环境因素和人为因素,以此达到最优的疏散路径。
张明空等[6]利用涟漪扩散算法求解出动态火灾环境下的理论最优疏散路径。涟漪扩散算法的路径搜索过程可以描绘成路网结点间的涟漪接力赛,是分散式的、基于多智能体的、自下而上的仿真模型。涟漪扩散算法可以将单位时间内的涟漪扩散、结点间激励过程与基于单位时间变化的火灾过程完 美结合,从而为解决动态环境下的路径优化问题提供了可能。
PODRZAJ等[12]在智慧空间的基础上,为引导机器人帮助人类,应用了人体跟踪的图像处理技术,并对现有的火灾探测算法进行了修改。
WU等[47]提出将ZigBee网络用于处理环境监测任务,一旦发现突发情况,网络自适应地修改拓扑结构,以保证运输的可靠性,同时快速识别应避免的危险区域,找到安全疏散人群的导航路径。
AHN等[48]开发了RescueMe系统,在紧急情况下通过移动电话设备向撤离人员推荐有效的疏散路径。该系统通过实时检测速度变化,帮助疏散人员避免建筑物内拥挤的瓶颈。当撤离人员的移动速度显著减慢时,系统重新计算最短路径,并为撤离人员提供新的路由方案。
WU等[49]提出了一种疏散路径概念:将三维几何网络模型与Dijkstra算法相结合,实现同时规划最短的安全救援路径和避免建筑内浓烟路径。
5.3 疏散引导设计
疏散引导系统承担了引导人员逃生的重要作用,其可靠性、实用性以及配合新型火情探测系统和疏散路径规划系统的智能性需求一直是人们研究的热点。
Joseph等[16]较早地提出了结合了发光指示器、发声单元和闭路电视系统的智能指示系统。文献[17]提到日本应用的利用先行音以及耦合了闪烁灯、高亮度灯和发声单元的指示系统。Peter Topol等[18]提出了一种智能指示系统,该系统由耦合了烟雾传感器和热传感器的出口指示单元、语音传感器和频闪灯组成。Gary L. Sweeney等[19]提出了一种激光发射疏散系统,该系统由激光源和旋转镜组成,其最大特点是在烟雾环境下有着良好的显示效果。
CHEN等[7]设计了由使用二维点阵定义字符的MAX7219 LED的疏散指示灯,该指示灯实现了禁止通行、可以通行、左转和右转四种结果。ZHANG等[24]设计的智能指引系统设置了出口标识单元,每个单元由一个带有方向箭头的出口标识面板、火灾和烟雾探测传感器以及人员交通监控传感器组成。火灾和烟雾探测传感器探测火灾事件和火灾传播,并向邻近单位发送报警信息,人员交通监控传感器计算经过的人员人数并测量他们的速度,以此达到引导疏散的目的。近年来,随着智能手机拥有量的增加,利用智能手机可以实现个性化、实时的消防疏散指引[25,34,47]。与此同时,国内学者们对基于电力载波等不同通信方式的、利用单片机控制的LED阵列指示灯的设计与研究也已经非常成熟[50–53]。
6. 既有研究问题及未来发展趋势
6.1 既有研究存在的问题
综上所述,国内外学者的既有研究存在以下两方面问题:
- 1)
疏散路径规划考虑不足,算法有待完善。
消防应急疏散智能指引系统中最重要的疏散路径规划问题本质上是路径优化问题(path optimization problem, POP)。在理论研究中,消防通道通常是固定不变的,于是有了静态路径优化(static path optimization, SPO)。在实际应用中,考虑到火情是在不断变化的,因此需要根据火情变化以及当前环境情况重新在线实时计算最优路径,于是有了动态路径优化(dynamic path optimization, DPO)。然而,局部最优路径并不等同于全局最优路径,DPO方法一味地躲避障碍理论上存在绕路的风险。
在大型建筑内火灾应急疏散中,如果只是简单地应用DPO方法不但没有最优性的保障,反而有可能导致灾难性后果。例如,在建筑物内消防应急疏散过程中,DPO方法根据当前火情算出撤离路径引导人员撤离,可是撤离过程中由于火情的扩散蔓延,下一时刻的火情可能使得上一时刻算出的撤离路径变得行不通,人员不得不折返。DPO方法所造成的折返过程会使待疏散撤离人员浪费掉大量宝贵时间,从而最终丧失逃生机会。图9给出了建筑物内消防应急疏散过程中人员因DPO方法所造成的折返而最终无法撤离逃生的示例。示例中,如果待疏散人员一开始就找出理论最优路径1→2→3→6→9→12→11→10并按之撤离,则可以安全撤离出建筑物。因此,疏散路径规划如何实现全局最优与局部最优的兼得并应用到消防应急疏散中是值得研究的问题。
其次,传统的DPO方法多使用Dijistra算法、蚁群算法等[54],需要不断进行在线实时路径优化。DPO就根据当前时刻的路网环境,重新计算从当前位置到终点的最优路径,然后沿新的优化路径前行,直到路网环境再次发生变化,其求解思路如图10所示。DPO的单次在线实时优化实际上是在求解一个SPO问题,因为在单次在线实时优化过程中,路网环境是固定不变的(即:使用当前时刻的路网环境)。国内外学者在研究DPO时,重点主要都放在如何提高单次在线实时优化的计算效率上面,尤其是:如何基于当前时刻的路网环境对前一时刻的最优路径进行快速改进,从而避免完全抛弃前一时刻的最优路径而进行彻底的重新计算。目前,DPO被广泛研究。例如,文献[54– 56]究了路网单一变化下(即:每个时刻路网只发生一处变化)的在线实时优化方法,文献[57–60]扩展到了路网多重变化下的在线实时优化方法。显而易见,DPO 当前时刻的最优路径并不意味着在未来时刻也是最优的,所以DPO 不能保证实际旅行路径的理论最优性。DPO 缺陷的原因在于:在单次在线实时优化过程中,只考虑当前时刻的路网环境,而没有预测路网环境的未来变化情况。
事实上,火灾扩散过程中的路网变化过程在一定程度上是可以预测的,截至目前已经有大量的研究和模型可用于预测相应路网环境的变化[61–62]。显然,如果能充分考虑和利用路网变化的预测信息,则可以有效提高动态路网环境下的路径优化效果。但是,Dijistra算法、蚁群算法等绝大多数POP求解方法的基本步骤是面向链接的分析,即:一条链接所增加的通行成本是多少。这就与火灾扩散模型中面向仿真时间单位的基本步骤相悖,因此,在常见的POP求解方法中无法直接将火灾扩散模型整合进POP求解算法中。这也解释了DPO的单次在线优化只能使用静态网络的原因。所以,如何在算法层面兼顾疏散路径优化与火灾动态变化是疏散路径规划中的核心问题。
- 2)
疏散引导系统的应用存在一定局限性,有待进一步完善。
消防指示灯是引导人员疏散逃生的重要指示设备,目前的消防指示灯设计方案实现了不同楼层的差异化引导,但是大型建筑中复杂的人员流动情况仍可能导致拥堵等事件发生。现有的疏散指示灯无法实现同一楼层的差异化实时引导,这不但降低了逃生成功概率,同时限制了智能疏散系统整体的发展。智能手机虽然可以实现个性化、实时引导,但考虑到老幼人群智能手机普及率低且在紧急情况下无法实现为所有智能手机持有者提供智能引导服务,目前应用智能手机实现智能指引实用性不高。因此,发展一种兼具实用性与功能性的疏散引导系统是亟待解决的问题。

DPO方法缺陷示例.

传统动态路径优化方法求解思路.
6.2 未来发展趋势
借助于物联网技术、计算机技术的发展,消防应急疏散智能指引系统从上世纪中期简单的火灾报警器发展成一种通过开展对测量学、运筹学的研究,使建筑、设备和个人保护装备有机融合,达到提升态势感知以及保护人员、设备安全目的的智能系统。其中,优化消防应急疏散智能指引系统架构、算法,相关基础理论的研究,以及智能指示灯的开发将是未来发展趋势。
- 1)
如果在算法层面将动态路径优化算法与火灾发展规律相结合,使之能够预见性的避开火灾蔓延区域,找到最优逃生路径,并实现局部最优与全局最优相结合的目的,会进一步提升逃生成功率。文献[6]、[49]在充分考虑了路径规划中的实际情况后从算法层面给出了解决方法。其结果对智能指引系统的研究具有一定的借鉴意义。
其中,文献[6]提到的方法更具有实际应用价值。张明空、胡小兵等人采用了基于涟漪扩散算法(Ripple Spreading Algorithm,RSA)的协同进化路径优化(Co-Evolutionary Path Optimization,CEPO)方法,该方法的基本步骤是面向仿真时间单位的分析,即:在一个仿真时间单位内,哪些结点和链接的通达状态和通行成本情况会怎样变化。基于仿真时间单位的路网动态变化过程可以与CEPO一次性优化中面向仿真实践单位的分析无缝对接,因此,CEPO方法的一次性优化过程真正使用了动态网格。结合案例进行仿真模拟,并通过与传统DPO方法进行对比,验证了CEPO方法在总疏散时间和成功疏散人数方面的可行性。
- 2)
如果能够设计一种智能指引系统,使之实现同一楼层实时性的、差异性的智能指引服务,不但可以更好地发挥动态路径优化算法的作用,更能极大提高逃生成功率。而消防指示灯因其实用性、简易性等特点被大量应用并被大众所接受,因此,对智能指示灯的研究将是热点问题。文献[63]、[64]提供了一种个性化、智能化的消防指示灯设计。
其中,文献[63]中提到的视界可调节的建筑物内应急疏散指示灯设计有较强的实用价值。该指示灯设计由转向控制器、安装在转向控制器上的竖条板以及安装在竖条板上的像素灯组成。通过调节竖条板的角度,指示灯就可以为其左前方、正前方、右前方区域的待疏散人员提供互不干扰的、差异化的应急疏散引导信号。因此,可以实现高度差异化、智能化的实时引导。
7. 结论
随着我国经济社会的发展,大型建筑会越来越多的出现在大家的生活中,消防应急疏散智能指引系统因其高智能性、高适应性和高效性的特点在我国有着广阔的应用前景。本文综述了国内外对消防应急疏散智能指引系统的研究成果,指出了既有研究两点不足以及未来发展趋势,得出以下结论:
- 1)
既有大型建筑内消防智能指引系统的模型和算法的主要缺点是无法实现局部最优解与全局最优解的有机结合,存在逃生失败的风险。
- 2)
既有疏散指引系统无法真正实现个体之间实时性、差异性的引导,在大型建筑内存在拥堵、逃生失败的风险。
- 3)
动态路径规划、火情发展趋势预测的算法设计与差异化的疏散引导系统设计相结合,与现有方法相比更具合理性。疏散指引系统可以实现同一楼层乃至更精细的实时引导,从而更高效地引导人员逃生。
致谢
资助项目:
参考文献
Cite this article
TY - JOUR AU - Xiangzhi 相至 Meng 孟 AU - Rongmei 荣梅 Guo 郭 AU - Xiaobing 小兵 Hu 胡 PY - 2020 DA - 2020/02/06 TI - Summary of Intelligent Guidance System for Fire Emergency Evacuation in Large Buildings JO - Journal of Risk Analysis and Crisis Response SP - 194 EP - 202 VL - 9 IS - 4 SN - 2210-8505 UR - https://doi.org/10.2991/jracr.k.200117.003 DO - 10.2991/jracr.k.200117.003 ID - Meng孟2020 ER -